公司新聞
V型滾筒輸送機是一種新型的專門用來輸送胎坯的滾筒輸送機。輸送機采用雙排輥筒,V型布置,使輥道形成V型截面,這樣可以避免胎胚在傳輸過程中,胎胚止口與輸送滾筒表面直接長時間接觸,導致胎胚嚴重變形。但是,這種新型輸送機在運行一段時間后,十字軸萬向節頻繁發生螺紋連接銷釘脫落、十字軸表面磨損的現象。
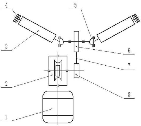
該V型滾筒輸送機采用單電機驅動,經過蝸輪蝸桿減速機降速,然后由鏈條傳動將動力輸入到動力分配裝置,經過動力分配裝置將動力轉化成雙側等功率輸出,再通過十字軸萬向節將動力傳遞給兩側的主動滾筒,主動滾筒另外一端安裝雙鏈輪,最后通過等距鏈條帶動其他滾筒連續運轉。傳動系統原理圖如圖1所示。

1- 電機;2- 減速機;3- 滾筒;4- 雙排鏈輪;5- 十字軸萬向節;6- 從動鏈輪;
7- 鏈條;8- 主動鏈輪
圖 1 傳動系統原理圖
十字軸萬向聯軸器的結構原理如圖2所示,主動軸、從動軸上的萬向節叉1、3中間的十字軸2分別以鉸鏈連接,當兩軸有角位移時,萬向節叉1、3繞各自軸線回轉,而十字軸則做空間運動。

1、3- 萬向軸叉;2- 十字軸
圖2十字軸聯軸器結構簡圖
滾筒輸送機的改進措施
由于單節十字軸聯軸器在傳動工程中,從動軸的角速度是不斷變化所造成的十字節銷軸脫落,可根據輸送機的實際情況,選擇一款小型的球籠式等速聯軸器,來替代不等速的十字節聯軸器,從而改善頻繁維修聯軸器這種狀況。
在萬向節聯軸器的軸間角 α 不等于零的情況下,其從動軸具有不等速的運動特性,不僅速度周期性波動,傳遞的功率也損失一部分,且隨著軸間角的增大,角速度的波動也增大,傳遞的功率的損失也更多。在實際應用中,盡量避免使用單節十字軸萬向聯軸器,而選擇球籠式的等速聯軸器。
改進后的“V”型滾筒輸送機,由于聯軸器的輸入和輸出角速度的等速性,“V”型排布的滾筒勻速轉動,輪胎胎坯在“V”型輥道中傳送更加的平穩流暢,同時大大減少了聯軸器維修頻率,提高了生產效率,為輪胎胎坯的自動化輸送提供借鑒,有一定的參考價值。
Copyright @ 2018 昆山璧發自動化科技有限公司 版權所有
備案號:蘇ICP備15059698號-1
蘇公網安備32058302004638號
地址:江蘇省昆山市錦溪鎮錦昌路498號 電話:0512-57475606 郵箱:vip@bifa-auto.com
致力于滾筒輸送機、鏈板輸送機、滾筒輸送機及涂裝設備、工業非標類自動化輸送設備的設計與開發?
0512-57475606